地 址: 河南省鞏義市西村工業區
聯係人: 龐經理
手 機: 15617617287
15038001853
E_mail: gyltgd@126.com
http://www.gyltgdc.com/
手机福利看片,又叫穿牆套管,穿牆管。柔性手机福利看片一般適用於管道穿過牆壁之處受有振動或有嚴密防水要求的構築物,套管部分加工完成後,在其外壁均刷底漆一遍(底漆包括樟丹或冷底子油)。手机福利看片分為剛性手机福利看片和柔性手机福利看片。兩者主要是使用的地方不一樣,柔性手机福利看片主要用在人防牆,水池等要求很高的地方,剛性手机福利看片一般用在地下室等管道需穿管道地位置。
柔性手机福利看片是適用於管道穿過牆壁之處受有振動或有嚴密防水要求的構築物的五金管件,一般生產企業是根據建築科學研究院研製設計的S312、02S404標準圖集製造的。柔性手机福利看片穿牆處之牆壁,如遇非混凝土時應改用混凝土牆壁,而且必須將套管一次凝固於牆內;柔性手机福利看片施廣泛用於建築、化工、鋼鐵、自來水、汙水處理等單位。
剛性手机福利看片是鋼管外加翼環(鋼板做的環形套在鋼管上),裝於牆內(多為混凝土牆),用於一般管道穿牆,利於牆體的防水,而柔性手机福利看片除了外部翼環,內部還有檔圈之類的,法蘭內絲,有成套賣的,也可自己加工,用於有減震需要的管路,如和水泵連接的管道穿牆時。
不管是柔性手机福利看片還是剛性手机福利看片都是用於管道穿過受有振動或有嚴密防水要求的建築物牆壁的五金配件,常用於建築、化工、鋼鐵、自來水、汙水處理等單位。
剛性手机福利看片和柔性手机福利看片最直觀的不同,外觀上看就是不同的,柔性手机福利看片內部有橡膠止水環,如用在水池壁時防止漏水。它們安裝長度是不一樣的,柔性套管的標準長度是300mm而剛性套管的標準長度是200mm,但是它們有個共同點就是可以施工的需要任意加長或減短。
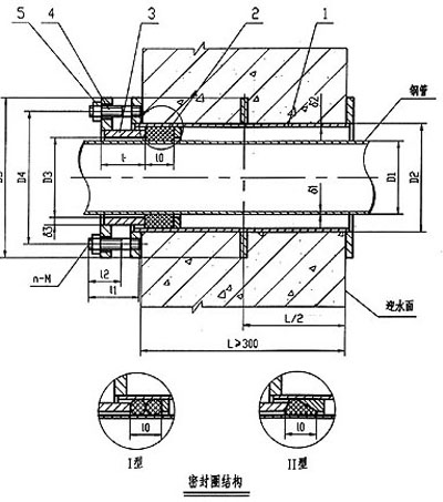
02S404柔性手机福利看片說明:
1、本圖尺寸均以毫米來計。
2、柔性手机福利看片一般穿過牆壁之處受有振動或有嚴密防水要求的構築物。
3、套管部分加工完成後,在其外壁均刷底漆一遍(底漆包括樟丹或冷底子油)。外層防腐由設計決定。
4、套管穿牆之牆壁,如遇非混凝土牆壁時應改用混凝土牆壁,其澆注混凝土範圍應比翼環直徑( D6 )大 200mm ,而且必須將套管澆固與牆內。
5、穿管處之混凝土牆厚應不小於 300mm 否則應使牆壁一邊加厚或兩邊加厚。加厚部分的直徑最小應比翼環直徑( D6 ) 200mm
6、套管的材料重量是按牆厚 L 值為 300mm 應另行計算。
7、套管部件焊接材料,用 A3 材料製作, T42 焊接。

I型柔性手机福利看片說明:
1、當迎水麵為腐蝕性介質時,可采用封堵材料將縫隙封堵。
2、套管穿牆處如遇非混凝土牆壁時,應局部改用混凝土牆壁,其澆注範圍應比翼環直徑(D5)大200,而且必須將套管一次澆固於牆內。
3、穿管處混凝土牆厚應不小於300,否則應使牆壁一邊加厚或兩邊加厚,加厚部分的直徑至少為D5+200。
4、套管的重量以L=300計算,如牆厚大於300時,應另行計算。

II型柔性手机福利看片說明:
1、柔性填料材料:瀝青麻絲、聚苯乙烯板、聚氯乙烯泡沫塑料板。
2、密封膏:聚硫密封膏、聚胺脂密封膏。
3、套管穿牆處如遇非混凝土牆壁時,應局部改用混凝土牆壁,其澆注範圍應比翼環直徑(D5)大200,而且必須將套管一次澆固於牆內。
4、穿管處混凝土牆厚應不小於300,否則應使牆壁一邊加厚或兩邊加厚,加厚部分的直徑至少為D5+200。
5、套管的重量以L=300計算,如牆厚大於300時,應另行計算。
技術參數:
02S404柔性手机福利看片質量要求
|
名稱 |
標準 |
|
橡膠密封圈的硬度、 |
HG/T3091:2000 |
|
金屬表麵生鏽處理 |
GB8923-88/標準中的ST3 |
02S404柔性手机福利看片主要尺寸、重量表
| DN | D1 | D2 | D3 | D4 | D5 | I | 10 | I1 | I2 | D1 | D2 | D3 | n-M | A型重量(kg) | B型重量(kg) | |||
| I型 | Ⅱ型 | I型 | Ⅱ型 | I型 | Ⅱ型 | |||||||||||||
| 50 | 60 | 95 | 65 | 145 | 200 | 65 | 28 | - | 72 | 30 | 3.5 | 4 | 8 | 4-M12 | 14.40 | - | 14.60 | - |
| 65 | 76 | 114 | 80 | 165 | 220 | 65 | 28 | 25 | 72 | 30 | 3.75 | 4 | 8 | 4-M12 | 16.89 | 17.07 | 17.18 | 17.35 |
| 80 | 89 | 127 | 95 | 180 | 235 | 65 | 28 | 25 | 76 | 38 | 4 | 4 | 10 | 4-M16 | 21.12 | 21.31 | 21.42 | 21.61 |
| 100 | 108 | 146 | 114 | 200 | 255 | 65 | 28 | 25 | 76 | 38 | 4 | 4.5 | 10 | 4-M16 | 24.37 | 24.58 | 24.71 | 24.92 |
| 125 | 133 | 180 | 140 | 235 | 290 | 65 | 28 | 25 | 76 | 38 | 4 | 6 | 10 | 6-M16 | 31.92 | 32.31 | 32.43 | 32.82 |
| 150 | 159 | 203 | 165 | 260 | 315 | 65 | 28 | 25 | 76 | 38 | 4.5 | 6 | 10 | 6-M16 | 35.77 | 36.17 | 36.31 | 36.72 |
| 200 | 219 | 265 | 226 | 320 | 375 | 65 | 28 | 25 | 76 | 38 | 6 | 6 | 10 | 6-M16 | 44.69 | 45.29 | 45.29 | 45.87 |
| 250 | 273 | 325 | 280 | 380 | 435 | 65 | 28 | 25 | 76 | 38 | 8 | 8 | 10 | 8-M16 | 59.41 | 60.22 | 60.43 | 61.33 |
| 300 | 325 | 377 | 333 | 435 | 495 | 72 | 28 | 30 | 90 | 46 | 8 | 10 | 10 | 8-M20 | 89.37 | 90.02 | 90.35 | 91.14 |
| 350 | 377 | 426 | 385 | 485 | 545 | 72 | 32 | 30 | 90 | 46 | 10 | 10 | 10 | 8-M20 | 99.74 | 100.3 | 100.7 | 101.5 |
| 400 | 426 | 480 | 435 | 540 | 600 | 72 | 32 | 30 | 90 | 46 | 1O | 10 | 10 | 12-M20 | 114.0 | 114.8 | 115.3 | 116.4 |
| 450 | 480 | 530 | 488 | 590 | 650 | 72 | 32 | 30 | 90 | 46 | 10 | 1O | 10 | 12-M20 | 124.1 | 124.7 | - | - |
| 500 | 530 | 585 | 538 | 645 | 705 | 72 | 32 | 30 | 90 | 46 | 10 | 10 | 10 | 16-M20 | 139.3 | 140.5 | - | - |
| 600 | 630 | 690 | 640 | 755 | 820 | 75 | 32 | 30 | 104 | 54 | 10 | 10 | 12 | 16-M24 | 197.2 | 198.2 | - | - |
| 700 | 720 | 780 | 730 | 845 | 910 | 75 | 40 | 30 | 104 | 54 | 10 | 1O | 12 | 20-M24 | 222.6 | 223.7 | - | - |
| 800 | 820 | 880 | 830 | 950 | 1020 | 80 | 40 | 40 | 117 | 60 | 10 | 10 | 12 | 20-M27 | 280.0 | 282.3 | - | - |
| 900 | 920 | 980 | 930 | 1050 | 1120 | 80 | 40 | 40 | 117 | 60 | 10 | 10 | 12 | 20-M27 | 309.6 | 312.2 | - | - |
| 1000 | 1020 | 1080 | 1030 | 1150 | 1220 | 80 | 40 | 40 | 117 | 60 | 10 | 10 | 12 | 24-M27 | 341.1 | 344.0 | - | - |
注:訂貨時注明管子外徑,大於DN1400、牆厚大於或小於300mm的產品可訂製加工。